продажа и обслуживание спецтехники по россии
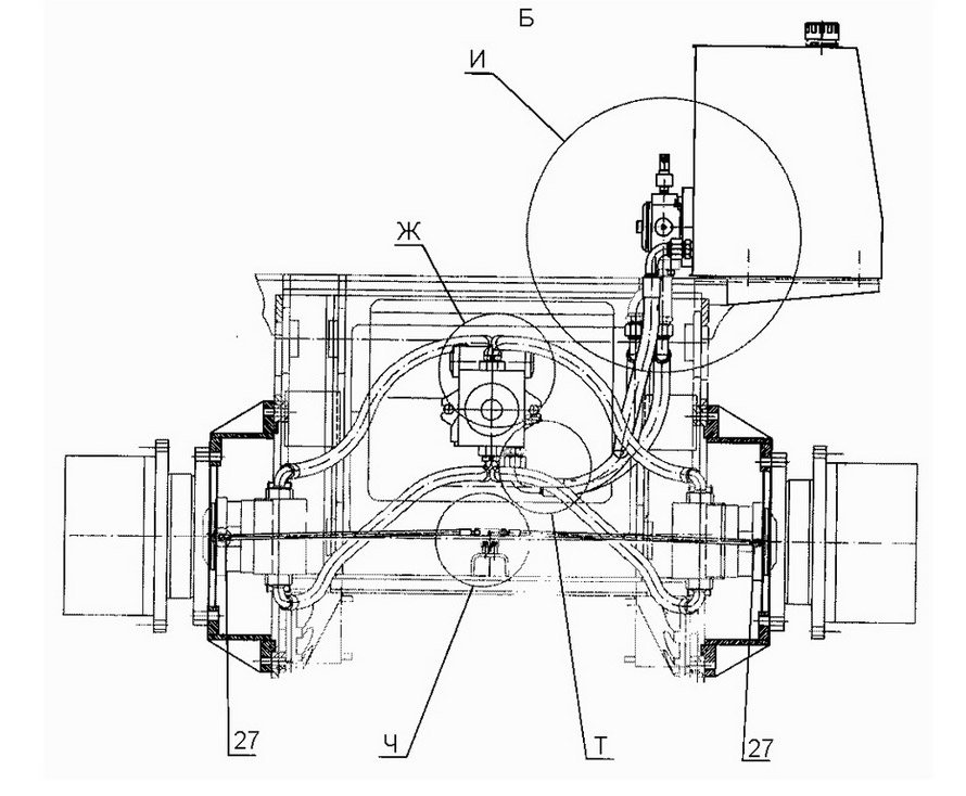
Гидропривод
ОПИСАНИЕ
ВИД ТЕХНИКИ:
Бульдозер Б-100
Бульдозер Б-100
ТИП ДЕТАЛИ:
Гидропривод
Гидропривод
АГРЕГАТ:
Гидропривод Б100.12.00.000
Гидропривод Б100.12.00.000
Компоненты узла
| ПОЗИЦИЯ НА РИСУНКЕ | АРТИКУЛ | НАИМЕНОВАНИЕ |
|---|---|---|
| 1 | M DIN 1SN frost-32-63-1700-DKO-L(1″45x2/3/5/90-DKO-L(1″45x2/35) | РВД |
| 2 | Б100.12.00.100 | Трубопровод |
| 3 | M DIN 1SN frost-32-83-2600-DKO-L(1″45x2/3/5/90-DKO-L(1″45x2/35) | РВД |
| 4 | Редуктор с гидромотором GFT 65 T2 1004 i=55,4 | РВД |
| 5 | SFN 632 | Полуфланец |
| 6 | S DIN 4SN-25-380-1600-SFS(47/6/90-SFS/54/0/90) | РВД |
| 7 | SFN 625 | Полуфланец |
| 8 | S DIN 4SN-25-380-1650-SFS(47/6/90-SFS/54/0/90) | РВД |
| 9 | VAGV0512PCX1/32R-NSF0F25M3C-ES/PAF0220F21MC | Тандем насосов с напорными фильтрами |
| 10 | P DIN 1SN-16-1300-1000-DKO-L(1″1/8x1,5/8) | РВД |
| 11 | Б100.12.00.101 | Коллектор |
| 12 | P DIN 1SN-16-1650-DKO-L(1″1/8x1,5/8) | РВД |
| 13 | P DIN 1SN-16-1650-DKO-L(1″) | РВД |
| 14 | Б100.12.00.250 | Трубопровод |
| 15 | P DIN 1SN-6-225-1000-DKO-L(1/4x1,5/8)-DKO-L(1/4x1,5/8) | РВД |
| 16 | P DIN 1SN-6-225-900-DKO-L(1/4x1,5/8)-DKO-L(1/4x1,5/8) | РВД |
| 17 | XTNVW06HL | Тройник |
| 18 | Б100.12.00.002 | Скоба |
| 19 | 5915.М8 | Гайка |
| 20 | 6402.8 | Шайба |
| 21 | P DIN 1SN-6-1250-DKO-L(1/4x1,5/8) | РВД |
| 22 | P DIN 1SN-6-130-1250-DKO-L(1/4x1,5/8) | РВД |
| 23 | Б100.12.00.200 | Трубопровод |
| 24 | Б100.12.00.001 | Штуцер |
| 25 | CR 26-31-2.0 | Кольцо |
| 26 | XVMNW16HL26 | Штуцер переходной |
| 27 | XSDDMNW06HL | Штуцер откидной |
| 28 | XVMNW32HL2ED | Штуцер переходной |
| 29 | 4WE 6 C6X/EG24N9K4 | Клапан |
| 30 | G 341/01 | Плита |
| 31 | XVMNW06HL1/8 | Штуцер прямой |
| 32 | Б100.12.00.005 | Скоба |
| 33 | 5915.М10 | Гайка |
| 34 | 6402.10 | Шайба |
| 35 | Б100.12.00.004 | Скоба |
| 36 | Б100.12.00.003 | Скоба |
| 37 | AFS SCHRAUBE 5 | Винт |
| 38 | FEDERRING М12 | Шайба |
| 39 | AFS SCHRAUBE 6 | Винт |
| 40 | FEDERRING М14 | Шайба |
| 41 | SFORING 25 | Кольцо уплотнительное |
| 42 | SFORING 32 | Кольцо уплотнительное |
| 43 | SAE O-RING2 | Кольцо уплотнительное |
| 44 | XVMNW08HL18ED | Штуцер переходной |
| 45 | XAOHW08L06 | Переходник |
| 46 | VHR901/4ED | Заглушка |
| 47 | XVRNW06HLED | Штуцер переходной |
| 48 | 7798.М6x16 | Болт |
| 49 | 6402.6 | Шайба |
| 50 | 7798.М8x16 | Болт |
| 51 | 11371.А8 | Шайба |
| 52 | 7798.М8x20 | Болт |
| 53 | 7798.М10x35 | Болт |
ОПИСАНИЕ