продажа и обслуживание спецтехники по россии
Оперенье
ОПИСАНИЕ
ВИД ТЕХНИКИ:
Бульдозер Б-100
Бульдозер Б-100
ТИП ДЕТАЛИ:
Оперенье
Оперенье
АГРЕГАТ:
Оперенье Б100.84.00.000
Оперенье Б100.84.00.000
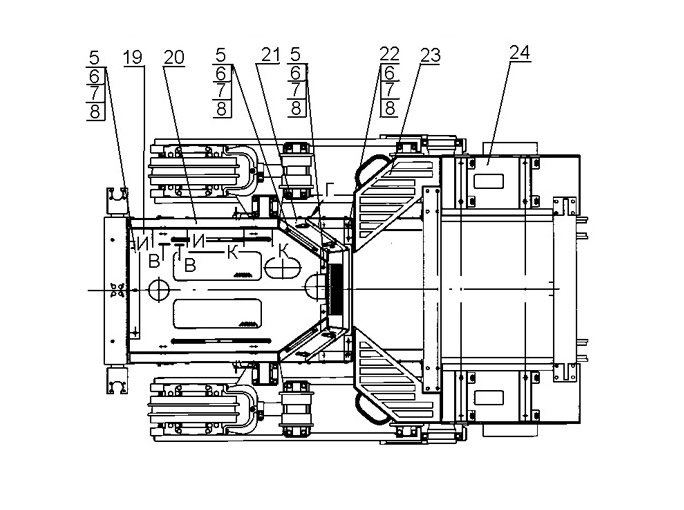
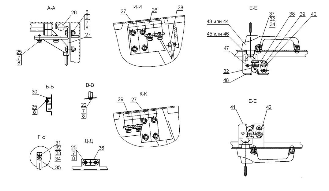
Компоненты узла
| ПОЗИЦИЯ НА РИСУНКЕ | АРТИКУЛ | НАИМЕНОВАНИЕ |
|---|---|---|
| 1 | Б100.84.00.030 | Решётка |
| 2 | Б100.84.02.050 | Панель капота |
| 3 | ГС-1803.82.02.010 | Поручень |
| 4 | Б100.84.00.007 | Панель задняя |
| 5 | 7798.М8×25 | Болт |
| 6 | 5915.М8 | Гайка |
| 7 | 6402.8 | Шайба |
| 8 | 11371.А8 | Шайба |
| 9 | Б100.84.00.017 | Поддон |
| 10 | 7798.М10×35 | Болт |
| 11 | 6402.10 | Шайба |
| 12 | 11371.А10 | Шайба |
| 13 | Б100.84.05.030-01 | Подножка |
| 14 | 5915.М10 | Гайка |
| 15 | Б100.84.02.070 | Каркас капота |
| 16 | 7798.М10×30 | Болт |
| 17 | Б100.84.00.009 | Панель нижняя |
| 18 | Б100.84.00.009-01 | Панель нижняя |
| 19 | Б100.84.02.100 | Панель капота |
| 20 | Б100.84.02.050-01 | Панель капота |
| 21 | Б100.84.00.007-01 | Панель задняя |
| 22 | 7798.М8×30 | Болт |
| 23 | Б100.84.05.030 | Подножка |
| 24 | Б100.84.00.017-01 | Поддон |
| 25 | 7798.М8×16 | Болт |
| 26 | ГС-1803.84.07.010 | Петля |
| 27 | ГС-1803.84.07.020 | Петля |
| 28 | 2112-8231015 | Пружина газовая |
| 29 | ГС-1803.84.07.010-01 | Петля |
| 30 | У781070000016 | Втулка |
| 31 | 7798.М6×16 | Болт |
| 32 | 5915.М6 | Гайка |
| 33 | 6402.6 | Шайба |
| 34 | 11371.А6 | Шайба |
| 35 | 3302-8202200 | Поручень внутренний |
| 36 | Б100.84.00.020 | Защел |
| 37 | 17473.В.М6-16 | Винт |
| 38 | Б100.84.00.015-01 | Кулиса |
| 39 | 17473.В.М8×40 | Винт |
| 40 | TO-18А5.11.31.005 | Втулка |
| 41 | 2108-6105014 | Замок |
| 42 | Б100.84.00.015 | Кулиса |
| 43 | 80-6105530 | Ручка |
| 44 | 80-6105530-А1 | Ручка |
| 45 | 80-3805065 | Винт регулировочный |
| 46 | 80-6105015 | Винт регулировочный |
| 47 | 17473.В.М8×25 | Винт |
| 48 | 2108-6105015 | Замок |
ОПИСАНИЕ