продажа и обслуживание спецтехники по россии

МЕНЮ

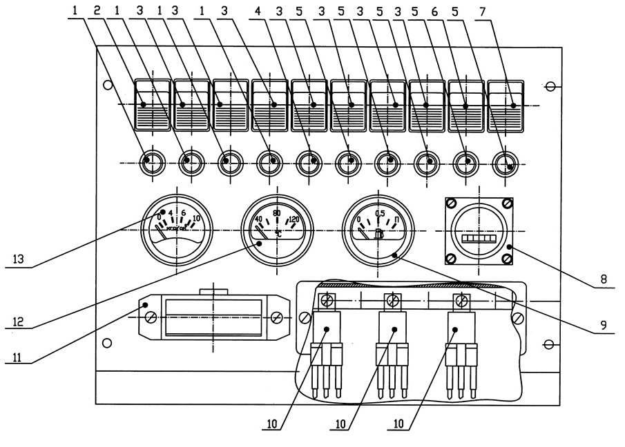
Панель приборов

ОПИСАНИЕ
ВИД ТЕХНИКИ:
Бульдозер Б-100
ТИП ДЕТАЛИ:
Панель приборов
АГРЕГАТ:
Панель приборов Б100.15.01.020

Компоненты узла

ПОЗИЦИЯ НА РИСУНКЕ АРТИКУЛ НАИМЕНОВАНИЕ
1 123.3803 Фонарь контрольной лампы (красный)
2 П147-02.17 Переключатель
3 П147-01.17 Переключатель
4 124.3803 Фонарь контрольной лампы (зелёный)
5 125.3803 010 Фонарь контрольной лампы (оранжевый)
6 П147-04.17 Переключатель
7 П147-03.17 Переключатель
8 СВН-2-02 Счётчик моточасов
9 УБ 125 Приемник указателя уровня топлива
10 901.3747 Реле
11 ПР 120 Блок предохранителей
12 УК 143-А Приемник указателя температуры
13 УК 144-А Приемник указателя давления
Цена:

С НДС и с учётом утилизационного сбора.

Согласен на обработку персональных данных и сбор куки.

Оплата:

Безналичный расчет по банковскому счету

Подробнее об оплате Купить в лизинг
Доставка:

Ж/д трал

Авто-трал

Самовывоз

Подробнее
о доставке
ОПИСАНИЕ
Цена с НДС: