продажа и обслуживание спецтехники по россии

МЕНЮ

Зуб

ОПИСАНИЕ
ВИД ТЕХНИКИ:
Бульдозер Б-100
ТИП ДЕТАЛИ:
Зуб
АГРЕГАТ:
Зуб Б100.26.04.000

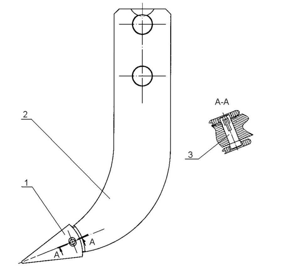
Компоненты узла

ПОЗИЦИЯ НА РИСУНКЕ АРТИКУЛ НАИМЕНОВАНИЕ
1 Б100.26.04.002 Наконечник
2 Б100.26.04.001 Стойка
3 ДЗ-298.25.11.025 Ось
Цена:

С НДС и с учётом утилизационного сбора.

Согласен на обработку персональных данных и сбор куки.

Оплата:

Безналичный расчет по банковскому счету

Подробнее об оплате Купить в лизинг
Доставка:

Ж/д трал

Авто-трал

Самовывоз

Подробнее
о доставке
ОПИСАНИЕ
Цена с НДС: